上海理工大学计算中心实验室预约系统V3.0 使用说明书(教师端)
一、实验室预约与管理流程图

二、登录系统
系统入口
校内可通过访问网址:https://jsyy.usst.edu.cn,或使用网站导航:计算中心主页(https://cec.usst.edu.cn)右下角快速通道,点击“实验室预约”图标进入实验室预约系统。
校外可通过登录学校vpn(http://webvpn.usst.edu.cn),点击“其他业务”板块下“计算中心预约”链接进入实验室预约系统。
登录用户名与密码
系统采用学校统一身份认证方式登录系统,如果忘记密码请与信息办联系重置或修改,计算中心无权限处理用户登录账号与密码信息。
个人信息维护
计算中心在必要时可提供短信通知服务,因此对首次使用预约系统用户强制完善个人联系信息。教师首次通过学校的统一身份认证登录系统后,系统弹出维护个人信息页面,请准确填写个人信息并保存后,系统将为教师自动分配操作权限。
每学期教师的首次登录,系统自动提醒教职工核对个人信息。
三、使用系统
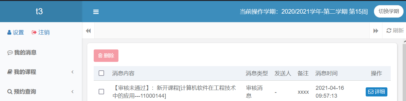
我的消息

选择操作学期
系统支持多学期同时开放预约,请教师检查核对当前的操作学期,如需更改,请在页面右上方点击【切换学期】按钮,选择正确的学期。
课程激活
功能菜单:我的课程课程激活,【添加】按钮

在弹出的新页面输入课程信息:
主要有三部分组成:课程信息、软件需求、实验项目。
第一部分课程信息:主要是课程基本信息。实验中学是字段是系统自动计算得出,计算规则为:学生人数*人均实验学时*1.05。
第二部分软件要求:在软件名称对话框中输入所需软件,可以根据自动查询出来的结果,选择最适合的。选中后,软件编号、版本等信息会自动显示出来。这些信息已经过计算中心编辑,个人无需修改。
如果系统中没有找到软件,可以自行填写软件名称,之后与计算中心的软件部署人员沟通联系。
第三部分实验项目:请根据实验内容如实填写,至少填写一个实验项目。

课程审核
课程激活流程为:草稿待审核已激活。在计算中心未审核之前,教职工可以自行撤回,修改后继续提交。如果页面填写有问题,计算中心会退回并说明原因,请修改后再次提交。
课程记录提交之后,【打印】按钮就可以使用,将表格打印后,交到计算中心308B后,计算中心将对课程信息审核。

课程预约
功能菜单:我的课程课程预约预约申请

点击【预约申请】后,系统会弹出预约实验室页面:

剩余机位查询:选择实验室、周次后,点击查询,可以查到对应周数、实验室预约情况,方便预约前的查询。
实验室预约:选择课程需要的时间、实验室后,点击【冲突监测】系统弹出先的页面:
如果没有冲突,点击【提交按钮】即可。若有冲突,请点击预约调整,在弹出的页面修改。或者点击【关闭】后,重新预约。

课程预约后查询修改
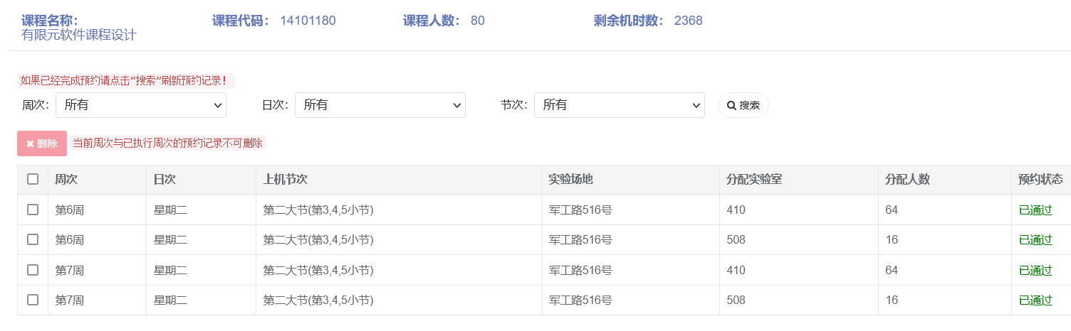
功能菜单:我的课程课程预约预约记录

预约完成以后,如果需要修改已预约的实验室,请删除对应的预约记录后,再次预约。请注意:当前周次与已执行周次的预约记录不可删除。
课程调整
功能菜单:我的课程课程调整申请调整

学期开始后,因为种种原因导致的学生人数、人均机时数有变化,可以在系统中自行提交修改,计算中心根据情况审核。通过之后,教职工可以在系统中继续预约实验室。
预约查询
功能菜单:预约查询。本功能菜单提供右图中四个查询功能。

预约记录:所有课程的预约记录都在此页面显示,可以根据系统提供的查询条件查询对应的预约记录。

我的课表:查询本人本学期的上课安排情况

软件信息查询:查询计算中心已编码软件,并非实验室电脑中预装软件。

剩余机位查询:本页功能与课程预约中剩余机位查询相同,方便教职工对实验室剩余机位单独查询。

